Samsung macht erneut mit einer interessanten Erfindung auf sich aufmerksam. Kommt nach dem Super-Akku nun das Super-Display? Darauf deutet zumindest ein kürzlich eingereichtes Patent hin. Darauf zu sehen: Ein Bildschirm, der bis auf die Rückseite reicht. Könnte diese Idee sogar schon beim nächsten Flaggschiff umgesetzt werden.
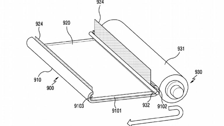
Über die viel gefeierten 82 bzw. 84 Prozent Screen-to-Body-Ratios, mit denen sich das iPhone X und das Samsung Galaxy S8 derzeit brüsten, kann aufgrund des neuesten Patentes nur geschmunzelt werden. Denn hier soll es plötzlich mehr Screen als Body geben. Wie das gehen soll? Ganz einfach: Das Display würde einfach auf der Rückseite weitergehen. Zumindest ein kleines Stück. Was auf der Patent-Skizze wie ein Spannbettlaken aussieht, würde dann dazu führen, dass das Smartphone tatsächlich randlos wäre.
Patent zeigt technische Umsetzung – lässt aber Fragen offen
Wie sich das auf praktische Dinge wie die Touch-Eingabe oder die Darstellung von Bildern auswirken würde, verrät das Patent allerdings noch nicht. Im Gegenteil: Samsung verspricht sich von der Neuerung unter anderem eine bessere Greifbarkeit der neuen Smartphones. Dafür müsste das Display allerdings erkennen, ob es nur gehalten wird, oder ob mit einer Berührung ein Befehl gegeben werden soll.
Technisch möglich sollte die Umsetzung des umgebogenen Displays aber dank OLED-Displays jetzt schon sein. Auch das Patent berücksichtigt schon den abgeänderten Fertigungsprozess: Hier soll Samsungs SuperAMOLED-Display mit Hilfe von Rollen um 180 Grad gebogen werden. Dabei wäre allerdings noch spannend, wie Samsung mit den dadurch entstehenden inneren Schichten des Displays umgehen will. Schließlich sollen nicht nur die beiden gegenüberliegenden Seiten des Displays umgebogen werden, sondern alle vier.

Und last but not least bleibt die Frage: Ist das Patent überhaupt für ein Samsung-Smartphone gedacht? Schließlich fertigt der Konzern auch Displays für andere Hersteller. Всеrdings wäre es wohl höchst unwahrscheinlich, dass der Apple-Konkurrent solch innovative Produkte nicht selbst nutzen sollte. Vielleicht können sich Samsung-Fans sogar schon beim Samsung Galaxy S9 über den infinity-Bildschirm freuen.